干过项目的人都懂: 你以为接了个项目,是去成事的,结果:
- 甲方上午改需求,下午催进度;
- 内部资源调不动,跨部门开会像吵架;
- 计划排得再漂亮,执行起来全靠运气。
很多人说:“项目管理就是靠经验、靠人脉、靠加班。” 但说实话,光靠人扛,迟早崩盘。
真正高效的项目团队,不是不遇到问题,而是问题一冒头,就有机制兜住。
今天我就跟你掏心窝子聊聊,项目管理中最常见的八大难题,以及为什么必须上一套项目管理系统。

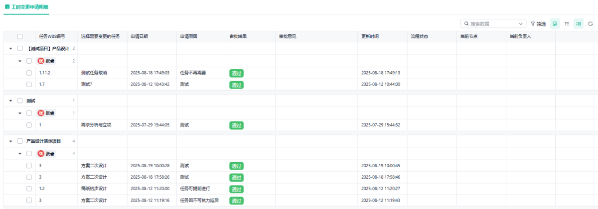
难题1:需求老变,计划全废
“我们只是微调一下功能。” “这个颜色客户不喜欢,换一个。” “工期不能动,但范围要加。”
需求一变,原计划瞬间作废,团队白干三天,还得背锅效率低。
真相是:不是需求不该变,而是变更没被管住。
解决方法是:每一次需求变更,都必须走评估流程:
- 这个改动会影响哪些任务?
- 需要增加多少工时?
- 是否需要调整资源或交付时间?
如果这些没算清楚就点头,后面全是坑。
好的项目管理系统,能做到:
- 变更申请自动关联原任务和资源;
- 系统自动计算对工期、成本、人力的影响;
- 客户/领导确认后,才更新基线计划。
不是不让变,而是让变更看得见、算得清、控得住。

难题2:人调不动,资源总不够
你明明知道张工下周有空,但生产部说他要支援产线; 你想调李经理做方案,他说手头还有三个项目在并行。
结果关键任务没人干,进度卡死。
问题不在人,而在资源没被全局统筹。
很多企业资源管理靠Excel表格,今天A项目占了人,B项目根本不知道。 结果就是:有人闲死,有人累死,整体效率低下。
正确方法是建一张全公司级的资源池视图:
- 每个人当前负荷多少?
- 哪些技能可用?
- 未来两周有没有空档?
项目经理排计划时,系统会自动预警:张工下周已超负荷80%,建议调整或协调。
资源不是抢来的,是看见后合理分配的。

难题3:跨部门扯皮,责任不清
采购说:“我按计划下单了!” 仓库说:“我没收到到货通知!” 生产说:“料没到,我怎么开工?”
最后锅甩给项目经理:“你怎么协调的?”
其实,不是大家不配合,而是流程断在了信息孤岛里。
在跨部门信息打通的环境下:
- 采购订单创建 → 自动触发仓库收货提醒;
- 仓库收货完成 → 自动通知生产可领料;
- 生产报工 → 自动更新项目进度和成本。
每个动作都有记录,每个节点都有责任人。 扯皮少了,因为事实摆在眼前。

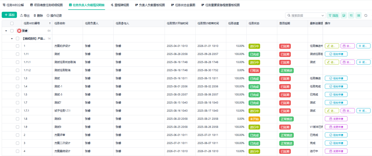
难题4:进度全靠问,数据永远滞后
“王工,项目进展咋样了?” “差不多了,应该能按时。” 结果周五发现,关键模块还没启动。
传统项目管理,进度靠问、靠猜、靠周报PPT。 但滞后一天的数据,就是无效数据。
真正有效的项目看板,应该是:
- 任务状态实时更新(谁做了、做到哪、卡在哪);
- 风险自动标红(延期超2天、资源冲突、依赖未完成);
- 管理层一眼看清:哪个项目健康,哪个快爆雷。
不是靠人汇报,而是靠系统说话。

难题5:成本失控,月底才知超支
预算100万,干到80万时以为还剩20万; 结果财务一算,实际已花110万——因为没算人工、差旅、返工成本。
项目成本不是花了多少,而是该花多少 vs 实际花多少的动态对比。
把成本拆到每一项任务:
- 人力工时 × 单价;
- 物料消耗 × 采购价;
- 外协费用、差旅、设备折旧……
每天自动归集,实时显示当前成本 vs 预算,超支前就预警。
成本管控,不是月底复盘,而是事中干预。

难题6:风险看不见,爆雷才救火
设备突然故障、关键人员离职、供应商断供…… 这些风险,其实早有苗头,但没人系统跟踪。
成熟的做法是:每个项目都要有风险登记册,定期评估概率和影响。 比如:“某芯片依赖单一供应商,断供风险高” → 提前备选方案。
而系统能做的,是:
- 自动提醒风险到期复查;
- 当供应商交货延迟,自动关联项目风险等级;
- 高风险任务自动升级给管理层关注。
风险管理,不是写在文档里,而是嵌在流程中。

难题7:文档散落,经验无法复用
项目结束了,文档丢在邮件里,经验留在某个人脑子里。 下一个类似项目,又从零开始踩坑。
企业最大的浪费,是重复犯同样的错。
好的项目管理机制,会在每个阶段设置知识沉淀点:
- 启动会模板、WBS标准结构、风险清单库;
- 结项时强制填写“ lessons learned”(经验教训);
- 下次新建同类项目,自动推荐历史最佳实践。
让组织能力,而不是个人能力,成为项目成功的保障。

难题8:高层看不见,支持不到位
老板问:“那个重点项目怎么样了?” 你答:“挺顺利的。” 其实已经延期两周,只是不敢说。
问题在于:没有统一的项目语言,高层无法快速判断优先级和风险。
而一套打通的系统,会给管理层一张“项目组合看板”:
- 所有项目按战略目标分类;
- 每个项目显示健康度(进度、成本、风险);
- 资源冲突、瓶颈任务一目了然。
老板不用问细节,就能决定:“A项目优先保资源,B项目暂缓。” 支持,来自于看得清。

真正的项目管理,不靠人扛,而是靠机制跑
很多人以为上系统就是换个工具,上个看板,其实核心是建立一套自动运转的协作机制:
- 需求变了?系统帮你算影响,而不是靠嘴说服;
- 资源紧张?系统提前预警,而不是临时抢人;
- 跨部门协作?流程自动流转,而不是靠微信群@;
- 成本超支?系统实时提醒,而不是月底背锅。
这套机制,不是替代项目经理,而是把项目经理从救火队员变成指挥官。
- 你不再天天追着人问进度,而是盯着系统看风险;
- 你不再靠记忆协调资源,而是靠数据做决策;
- 你不再为扯皮耗神,而是聚焦真正创造价值的事。

最后
项目管理的终极目标,不是把事做完,而是把事做成。
按时、按质、按预算,还能让客户满意、团队不崩、老板放心。
你需要的,是一套能让信息流动、责任清晰、风险可控的项目管理系统。

