很多一线主管都有一个共同的困惑:
每天都在巡检,表也填了、问题也提了、安全会议也开了,但现场的隐患还是反复出现。
说白了,不是大家不重视安全,而是——隐患查是查了,但没有真正“管住”。
所以今天我不跟你讲太多概念,直接把最实用的东西给你:
一份一线主管能直接对照用的——100项安全隐患排查清单。
你可以先拿这份清单去对现场,看看哪些已经在发生。
一、100项安全隐患排查清单
人员操作类
1. 未规范佩戴劳保用品
→ 做法:关键岗位强制检查,班前逐项确认
2. 操作中离岗、串岗或疲劳作业
→ 做法:设定岗位责任,限制连续作业时间
3. 擅自攀爬设备或进入危险区域
→ 做法:设置警示区,严禁无关人员进入
4. 未经培训直接上岗操作
→ 做法:培训合格后方可上岗,建立记录
5. 酒后或状态不佳作业
→ 做法:班前状态确认,异常人员禁止上岗
6. 随意操作非本岗位设备
→ 做法:设备权限划分,禁止跨岗操作
7. 搬运姿势错误、未用工具
→ 做法:规范搬运动作,配置辅助设备
8. 楼梯奔跑或车间内打闹
→ 做法:现场巡查制止,纳入考核
9. 维修时未断电挂牌
→ 做法:执行断电+挂牌锁定流程
10. 隐患不上报自行处理
→ 做法:建立上报机制,禁止私自处置
11. 多人作业分工不清
→ 做法:明确指挥人,统一协调
12. 动火作业无审批无监护
→ 做法:严格作业许可,专人监护
13. 高处作业未做防护
→ 做法:强制系安全带,设置防护设施
14. 用压缩空气清理身体或设备
→ 做法:明确禁令,现场监督
15. 接触电气设备未做绝缘防护
→ 做法:佩戴绝缘装备,保持手部干燥
16. 操作旋转设备佩戴饰物
→ 做法:上岗前统一检查,禁止佩戴
17. 装卸不稳导致货物倾倒
→ 做法:规范固定方式,必要时加固
18. 有限空间作业前未检测环境
→ 做法:先通风检测,再进入作业
19. 未防护盲目施救
→ 做法:先自保再救援,配备救援装备
20. 车间内吸烟或使用明火
→ 做法:划定禁烟区,严格处罚

设备工具类
21. 防护装置缺失或损坏
→ 做法:发现立即停机处理
22. 设备接地异常
→ 做法:定期检测接地状态
23. 传动部位未做隔离
→ 做法:加装防护罩或隔离栏
24. 开关按钮失灵或标识不清
→ 做法:及时维修并明确标识
25. 吊装索具磨损未检
→ 做法:定期检测,超标立即更换
26. 叉车带故障运行
→ 做法:故障停用,维修合格后再用
27. 电动工具绝缘破损
→ 做法:更换或加装漏电保护
28. 压力设备超压运行
→ 做法:校验安全阀,控制运行范围
29. 急停装置失效
→ 做法:每日功能测试
30. 设备运行中进行维修
→ 做法:必须停机后作业
31. 气瓶未固定或阀门异常
→ 做法:固定存放,检查阀门
32. 电焊设备线路老化
→ 做法:更换老化线缆,确保接地
33. 冲压设备安全装置失灵
→ 做法:修复后方可使用
34. 刀具安装不牢或磨损严重
→ 做法:定期检查更换
35. 空压系统漏气未处理
→ 做法:巡检管路,及时维修
36. 风机防护松动或异常摩擦
→ 做法:加固防护,排查故障
37. 升降设备限位失效
→ 做法:检修限位装置,禁止超程
38. 砂轮存在裂纹或无防护
→ 做法:更换砂轮,加装挡板
39. 自动线传感异常
→ 做法:定期校准检测
40. 手持设备无防护装置
→ 做法:必须配置防护罩后使用

物料搬运类
41. 物料堆放过高不稳
→ 做法:限定高度并固定
42. 易燃物料混放
→ 做法:单独分区存储
43. 化学品无清晰标识
→ 做法:张贴标签及说明书
44. 物料占用通道出口
→ 做法:划线管理,严禁堵塞
45. 废料堆积未清理
→ 做法:定期清运
46. 剧毒物品管理松散
→ 做法:双人双锁、台账记录
47. 气瓶混放间距不足
→ 做法:按规范分开放置
48. 粉尘堆积未清理
→ 做法:定期清扫防爆
49. 液体泄漏未处理
→ 做法:及时清理并防滑
50. 危废未分类存放
→ 做法:按类别分区管理
51. 货架超载变形
→ 做法:控制载重,定期检查
52. 包装破损仍使用
→ 做法:及时更换
53. 化学容器密封不严
→ 做法:加强密封防泄漏
54. 食品与有毒物质混放
→ 做法:严格隔离
55. 气瓶无防护装置
→ 做法:安装防震圈、防护帽
56. 重物人工搬运
→ 做法:使用吊装工具
57. 粉末未密封扩散
→ 做法:密闭存放
58. 过期物料未标识
→ 做法:标识并隔离处理
59. 锂电池存储温度异常
→ 做法:控制温度、防火措施
60. 储罐液位超限
→ 做法:设置报警装置

作业方法类
61. 无安全操作规程
→ 做法:制定并更新制度
62. 安全培训不到位
→ 做法:全员覆盖培训
63. 应急预案未演练
→ 做法:定期组织演练
64. 隐患排查无台账
→ 做法:建立记录机制
65. 特殊作业无审批
→ 做法:执行作业许可制度
66. 违规无处罚机制
→ 做法:建立考核制度
67. 设备维护不到位
→ 做法:落实保养计划
68. 危险作业无人监护
→ 做法:明确监护责任
69. 变更未评估风险
→ 做法:执行变更评审流程
70. 职业健康管理缺失
→ 做法:定期体检建档
71. 安全投入不足
→ 做法:保障必要投入
72. 应急器材未检查
→ 做法:定期点检
73. 事故报告不规范
→ 做法:明确流程及时上报
74. 外包人员未培训
→ 做法:统一培训准入
75. 安全会议流于形式
→ 做法:问题跟踪闭环
76. 特种设备未年检
→ 做法:按期检验
77. 危险工艺无保护措施
→ 做法:设置联锁控制
78. 劳保用品配置不足
→ 做法:按标准发放
79. 安全标识缺失
→ 做法:完善标识系统
80. 夜间作业无人监督
→ 做法:安排专人值守

环境场所类
81. 照明亮度严重不足
→ 做法:全面补充高效节能照明设备
82. 地面湿滑且凹凸不平
→ 做法:清理积水并实施专业防滑处理
83. 通道狭窄或被物料占用
→ 做法:严格保持通道畅通严禁堆放
84. 噪音超标且无防护措施
→ 做法:加装隔音屏障并强制佩戴护具
85. 高温区域缺乏降温设施
→ 做法:配置工业风扇或空调改善环境
86. 车间通风不畅空气浑浊
→ 做法:检修优化系统确保空气循环
87. 坑洞沟槽边缘无防护
→ 做法:加盖坚固盖板或设防护栏杆
88. 楼梯扶手松动踏步破损
→ 做法:立即组织维修加固消除隐患
89. 防雷防静电设施失效
→ 做法:建立定期检测机制确保完好
90. 线路老化严重私拉乱接
→ 做法:规范整理线路更换老化线缆
91. 护栏高度低于标准要求
→ 做法:按标准对护栏进行加高改造
92. 生产区隔离界限模糊
→ 做法:加强分区管理明确标识管控
93. 潮湿环境用电存在隐患
→ 做法:强制使用防水防潮专用电器
94. 粉尘区未安装除尘系统
→ 做法:科学安装高效装置降低浓度
95. 应急照明灯具损坏失效
→ 做法:定期检查更换确保随时可用
96. 温控设备故障导致失控
→ 做法:及时排查故障快速维修恢复
97. 设备基础沉降结构异常
→ 做法:立即开展基础加固处理工作
98. 道路标识不清指引缺失
→ 做法:重新施划标线完善分流引导
99. 排水系统淤积排放不畅
→ 做法:全面疏通管网确保雨季通畅
100. 露天作业无遮阳防雨
→ 做法:设置遮阳棚防雨篷提供保护

二、为什么有了清单,还是无法整改?
我接触过不少现场,安全做不起来,基本都卡在这几个点上。
不是理念问题,是执行结构出了问题:
- 隐患查出来了,但没有人真正负责
- 整改说了,但没有闭环
- 数据有了,但没人用
- 巡检在走形式,没有重点
那到底怎么做?
我给你一套很简单的结构,不用记复杂理论,就记住这5个动作:
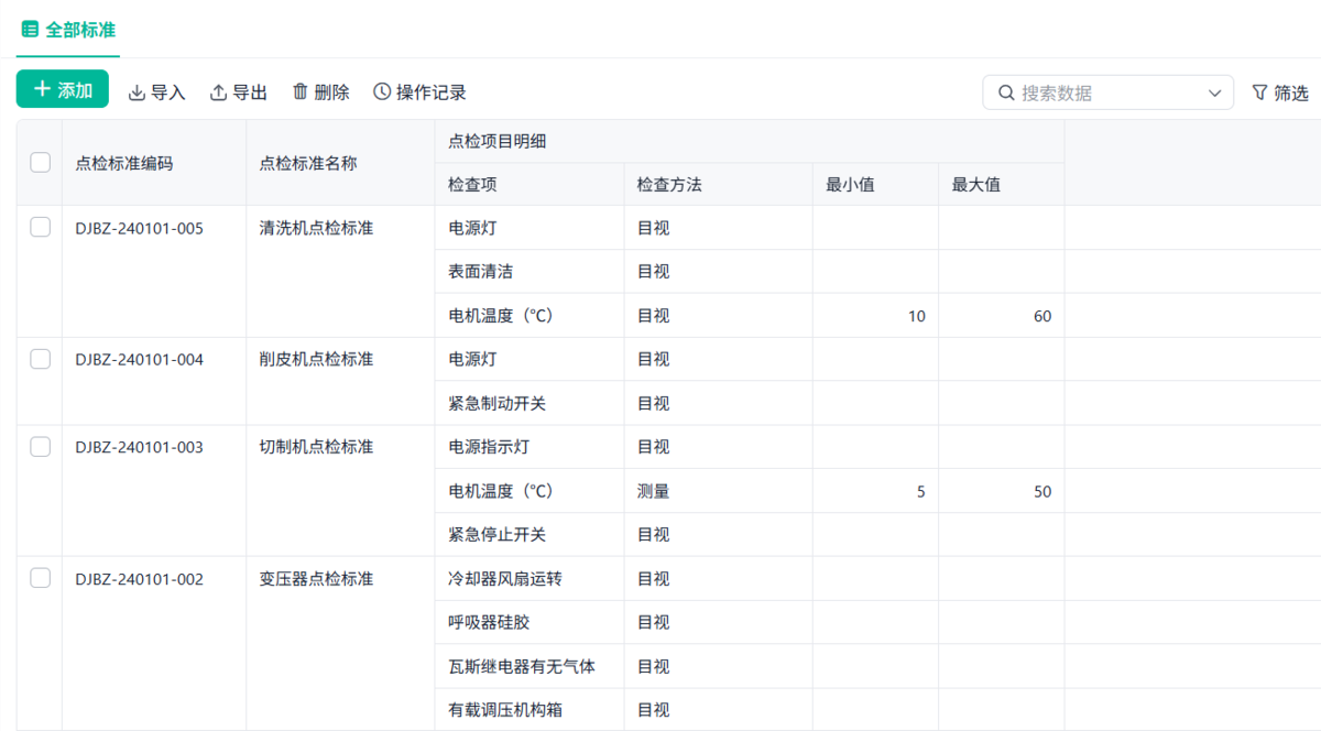
1. 隐患清单标准化(查什么)
先把该查的东西列清楚,比如上面列举的100条隐患清单。
不是越多越好,而是要尽可能覆盖关键风险,贴近现场动作。
隐患清单越具体,执行越容易。

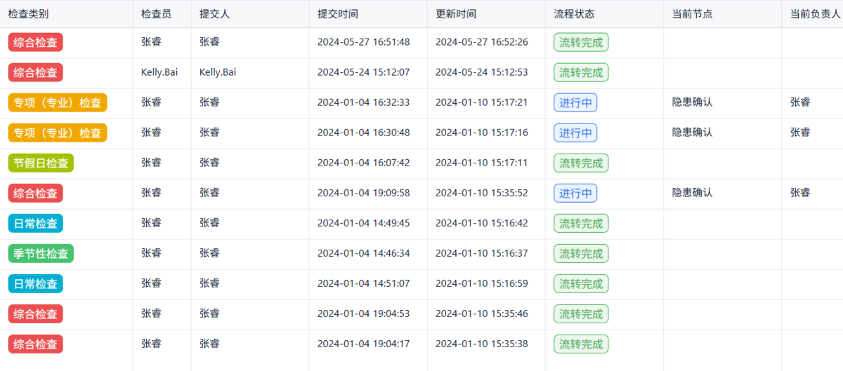
2. 巡检动作在线化(谁查)
巡检这件事,一定要落到“人”和“时间”上。
- 谁负责哪一块
- 每天什么时候查
- 查完必须有记录
最关键的是,不要让巡检变成想起来才做,必须有固定节奏。

3. 问题自动绑定责任(谁改)
发现隐患之后,第一时间要做的,不是记录,而是明确谁负责处理。
同时要带上截止时间和处理要求。
没有这两个东西,后面一定失控。

4. 整改过程可追踪(怎么改)
整改不是一句话,是一个过程。至少要做到:
- 有处理记录
- 有处理过程
- 有复查确认
做到这一步,问题才算真正闭环。

5. 数据自动汇总分析(怎么优化)
安全管理,最终是要越来越好。
你至少要能看到:
- 哪类问题最多
- 哪个区域风险高
- 哪些问题在重复出现
这样你才能调整巡检重点,优化培训内容,提前预防隐患风险。

但说实话,100条隐患清单许多公司都不缺;这5个动作,很多人看完是认同的,甚至有些团队已经在这么做了。
问题不在知道怎么做,而在于很难长期做下去。
现场一开始往往抓得很紧,但过一段时间就开始变味,最后又回到老样子:
- 巡检开始补填
- 问题开始积压
- 截止时间慢慢没人当回事
这不是态度问题,是方式问题。 只要还在靠人去记、去催、去盯,这件事就一定会松。
不是再加制度,也不是再强调责任,而是把这套动作固化下来。
怎么固化?就是把刚才这5个动作,直接做进一套能日常运行的系统里。
比如用简道云安全管理系统,可以把整件事拆得很具体:
- 隐患清单直接做成巡检表,谁在什么时间查,一目了然
- 现场一旦填报问题,系统自动生成整改任务,不需要再手工分派
- 责任人、截止时间一开始就带上,不存在“后面再说”
- 到期没处理,系统会自动提醒,不用再靠人反复去催
- 所有巡检和整改数据,自动沉淀下来,随时可以看整体情况
你会发现,变化其实很实在,该发生的动作,会按节奏自然发生,该被跟进的事情,很难再被遗漏。

三、最后一句话
安全不是靠记住这100条,而是让这100条每天都在现场发生作用。
如果只是停留在纸上,它再完整,也只是资料。
只有进入流程,它才叫管理。

