很多车间都有一个共性问题:活一直在干,但进度始终说不明白。
领导一问:“这批订单现在到哪一步了?”
现场的反应基本都一样——
- 先去问班组长
- 再去找操作工
- 最后翻一翻Excel或者聊天记录
折腾一圈,给出的答案往往是:应该做到后段了,具体还在推进。
但一旦订单多、节奏快,这种说法其实是没用的。
前段时间我在现场也碰到类似情况,没有去讨论上什么大系统,而是先做了一件更实际的事:
用两小时,搭了一套很轻量的生产车间工单管理方式。
不复杂,也不追求全面,就一条链:
下单 → 排产 → 报工 → 质检 → 入库
核心很简单:把每一张订单,做到哪一道工序,变成随时能看见的结果。
如果你正好也在做这块,我做的这套生产车间工单管理系统,可以直接拿去参考或改一版用: https://www.jiandaoyun.com

一、为啥要上生产工单管理系统?
很多企业一听到“上系统”,第一反应是成本、复杂度、落地难度。
但如果把视角往现场拉一拉,你会发现一个更直接的问题:
不是要不要上系统,而是现在这些最基础的生产动作,本身就已经失控了。
下面这几个典型问题,如果你现场也有,其实就已经到了该动手的时候。
1. 基础信息管理不当
很多企业其实是有数据的,但你去问一个最简单的问题:“这个产品最新的工艺是哪一版?”
十有八九会出现几种情况:
- 产品信息在多个表里
- 同一个产品,有不同写法
- 工艺版本没人统一维护
结果是什么?新订单一来,第一步不是排产,而是先确认资料。
确认过程中还经常反复,因为大家都不确定手里的版本是不是最新的。
这个问题的本质不是没有数据,而是:没有一个统一、可复用的基础数据入口。
于是每次接单,都会重复录一遍,重复确认一遍,效率低还容易出错。
2. 生产过程不够透明
现场最常见的一句话是:“这单做到哪了?”听起来很简单,但真正去查:
- 计划表在Excel里
- 执行在现场
- 状态在脑子里
排产的时候,计划排得很好,但一旦遇到插单、急单、设备异常,就开始靠人工协调。
谁优先,谁延后,基本是靠经验和临时沟通。
更大的问题在于:
- 哪个工序卡住了,不知道
- 哪个订单延期了,要等到后面才发现
- 管理层问进度,只能靠估计
这类问题不是没人干活,而是任务在流转,却没有被记录成状态。

3. 绩效薪资难以计算
报工这件事,看起来简单,但一旦量大,就很容易乱。
常见典型流程是:
- 工人手写报工
- 班组长汇总
- 文员再录Excel
- 最后算产量、算工资
每多一道手,就多一层误差,报工滞后、多个版本、工人和管理层对不上数等问题层出不穷。
到了月底,很多时间其实不是在算工资,而是在对账。
4. 数据应用统计不准
不少企业会说,我们也有报表,也有统计。
但你去问几个关键指标:
- 在制品数量是多少?
- 延期订单有多少?
- 不良率是多少?
往往是不同人给的数字不一样,或者同一个指标、不同口径,更新不及时。
这种情况下,数据是存在的,但没人敢用来决策。
因为大家心里都清楚:这个数据,可能不准。

二、2小时,一套工单系统是怎么搭出来的
这些生产车间中的典型问题,其实就是最亟待解决的需求。
想清楚需求之后,事情就简单多了。
我选择的是简道云这个工具,它能快速搭、能随时改、能贴业务,无需写代码也能灵活使用表单、流程、数据加工、分析仪表盘等模块,根据业务随时修改。
整个过程真的很简单,下面我按实际操作步骤讲,你可以照着理解,也可以直接套用:
1. 基础字段数据
第一步不是建流程,而是建基础数据。
我只建了三类:
- 产品信息:名称、型号、规格
- 工序信息:工序名称、顺序、标准工时
- 人员/班组信息
看起来很简单,但关键在于一个原则:后面所有单据,都必须引用这些数据,而不是手填。
这样做的好处很直接:
- 不会出现同一个产品多个写法
- 不需要重复录入
- 数据天然统一
在简道云里,这一步其实就是建几张基础表,然后在后面的表单里用“关联字段”引用。
设置基础的字段数据恰恰是最关键的部分。如果这一步没做好,后面所有数据都会乱。

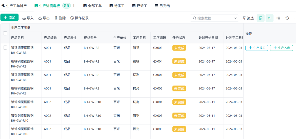
2. 生产任务排产
以前排产,大多是Excel加群通知。经常是任务发出去了,但没人能持续跟踪。
我这里做了一个很简单的改造,每一个生产任务,必须生成一张“工单”。工单里包含:
- 产品
- 数量
- 计划时间
- 对应工序
这让任务不再只是信息,而是变成了可追踪对象。
并且,当一张工单被创建之后,系统会自动生成对应的工序任务,比如:
- 下料任务 → 下料班组
- 机加工任务 → 机加工车间
- 装配任务 → 装配线
每个工位只需要打开系统,就能看到自己的任务列表。
哪一单先做,哪一单后做,一目了然。

3. 生产报工
这是整个系统里最关键的一步。
很多生产系统之所以失败,就是因为报工太复杂:工单号、工序号、设备号、班组号、工时、备注……
我做的事情很简单,给每个工序一个触手可及的报工入口,让一线人员直接填。
重点有两个:
- 入口要简单。手机就能操作,不需要复杂培训
- 数据直接回写到工单。不需要再人工整理
这样一来,报工就直接转成数据源,不需要再二次录入,数据是实时流动的。
你拿到的是第一手数据,而不是整理后的数据。
这对于后面所有统计和分析,都是基础。

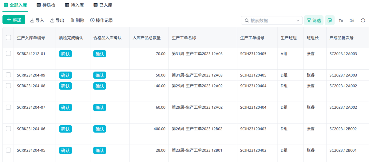
4. 生产质检入库
很多企业做到报工就停了,但其实还差一步:结果闭环。
我这里加了两个动作:
- 一个是质检。合格数量、不良数量、不良原因
- 一个是入库。入库数量、关联工单
这样每一张工单,从开始到结束,都有完整记录。你可以做到:
- 查一个订单的全过程
- 找出问题出在哪个环节
- 分析不良主要集中在哪个工序
这一步做完,数据才是完整的,而不是只停留在”做了多少”。

5. 智慧生产看板
当前面的数据都在线之后,看板其实不需要刻意设计。
我只做了几个最基础的:
- 在制工单数量
- 延期工单
- 今日产量
- 各工序效率
- 不良率
这些数据,全部来自前面的记录。
在简道云里,就是用现成的图表组件,把数据源绑定上去。
这里有个很重要的点:不要一开始就追求复杂报表,先把最关键的几个指标展示出来。
因为真正有价值的数据,不是设计出来的,而是从业务动作里“长出来”的。

三、上线之后,变化很现实
很多老板喜欢讲效率提升多少,但现场的人其实不太关心这些。
他们更在意的是,有没有少干一些无效的事,有没有少出一些错。
我说几个上线系统后很实际的变化:
- 现场不再靠问。现在打开系统就能看到,少了很多沟通成本
- 报工不再反复整理。数据在产生的时候就已经记录好了,不需要再转一遍Excel
- 工资计算开始有依据。报工数据直接对应产量,月底不再反复对账
- 问题开始被看见。哪个工序卡住了,哪个订单延期了,不再是事后才发现
这些变化看起来不高大上,但都是现场每天在用的东西。

最后一句话
很多人会问,是不是工具很关键。
工具当然重要,但更重要的是你在系统里固化了什么。
所以这次我做的事情,本质上只有三点:
- 用工单作为唯一载体,把任务统一起来
- 用报工、质检这些动作,把数据沉淀下来
- 用看板,把数据变成可见的信息
系统只是把这些动作固定下来,让它们每天都会发生,而不是靠人去提醒。
所以如果你问,这套东西为什么能在2小时内搭出来,其实原因很简单:
没有追求复杂,只是把该做的动作,变成了“必须做、自动记录”的流程。
真正有效的生产数字化,从来不是一步到位,而是从一条能跑通的业务链开始。

